自動排污過濾器CTF-S
-
單臺處理水量:4-150m³/h
-
最大工作壓力:0.1-1.6Mpa
-
過濾器清潔時的壓力損失:≤0.018Mpa
-
最高工作水溫:95℃
-
過濾精度范圍:10-3000μm
-
自清洗所需水量:<1%
-
自清洗時間:10-60秒
-
自清洗控制方式:壓差、時間及手動
-
電控方式:交流三相380V/ 50Hz
-
控制界面:數顯、旋鈕、開關
-
濾網類型:316L編織網、楔形網
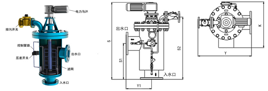
自清洗過濾器技術數據
|
型號 |
出入水口管徑 |
出入水口管徑 |
S |
S1 |
S2 |
Y |
Y1 |
K |
經濟流量 |
濾網面積 |
重量 |
|
|
(inch) |
mm |
mm |
mm |
mm |
mm |
mm |
mm |
m3/h |
cm2 |
kg |
|
CTF-S01 |
1 |
DN25 |
687 |
176 |
284.5 |
410 |
186 |
590 |
4 |
1060 |
87 |
|
CTF-S01.5 |
1.5 |
DN40 |
10 |
91 |
|
CTF-S02 |
2 |
DN50 |
16 |
97 |
|
CTF-S03 |
3 |
DN80 |
698 |
227 |
645 |
657.5 |
235 |
614 |
45 |
103 |
|
CTF-S04 |
4 |
DN100 |
65 |
106 |
|
CTF-S05 |
5 |
DN125 |
898 |
313 |
744 |
313 |
731 |
105 |
2208 |
197 |
|
CTF-S06 |
6 |
DN150 |
150 |
2713 |
壓損表

跟此產品相關的產品
/ Related Products
相關資訊
聯系安士睿
郵箱:yianke@163.com
地址:北京市昌平區城北街道侯家庵胡同2號